| Rules |
| Team Race Call Book |
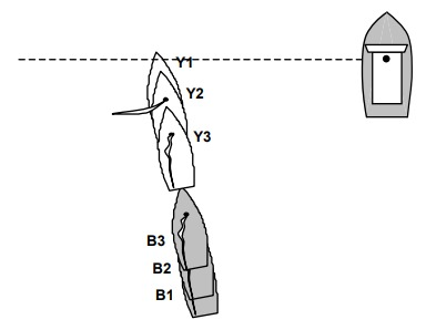
Question
Shortly before the start, B and Y are sailing ahead very slowly, Y half a length ahead of B. Y is in danger of crossing the starting line before the start and briefly backs her mainsail. This causes her to sail backwards toward B. She then stops backing her sail but continues to move backwards towards B. B maintains her position, and there is contact. B protests. What should the call be?