| Rules |
|---|
| Rule 11, On the Same Tack, Overlapped |
| Rule 14, Avoiding Contact |
| Rule 15, Acquiring Right of Way |
| Rule 16.1, Changing Course |
| Rule 17, On the Same Tack; Proper Course |
| Rule 43.1(c), Exoneration |
| Summary: |
|---|
| When, after having been clear astern, a boat becomes overlapped to leeward within two of her hull lengths of the other boat, the windward boat must keep clear, but the leeward boat must initially give the windward boat room to keep clear and must not sail above her proper course. The proper course of the windward boat is not relevant. |
| Facts: |
|---|
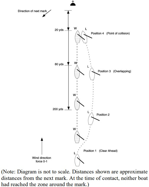
| Boats L and W were dinghies, 15 feet (5 m) in length. About 200 yards (200 m) from the mark, L became overlapped to leeward of W from clear astern. L was less than two of her hull lengths from W. The two boats then sailed alongside each other, about one-and-a-half hull lengths apart, until they were 80 yards (80 m) from the mark. At this point, L luffed slightly to sail directly to the mark, a luff that did not affect W. W maintained a steady course. L never became clear ahead. W's boom touched L's shroud, without damage or injury, and L protested under rule 11. L's protest was dismissed, and she was disqualified on the grounds that she had not allowed W enough room to fulfil her obligation to keep clear as required by rule 15. L appealed. |
| Decision: |
|---|
|
L's appeal is upheld. From the moment L became overlapped to leeward of W, rule 11 required W to keep clear of L. At that moment, L was required by rule 15 to give W room to keep clear, but that obligation was not a continuing one, and, at the time of the contact, the overlap had been in existence for a considerable period during which W certainly had room to keep clear. Rule 17 applied to L because, as the diagram shows, she had been clear astern before the boats became overlapped and was within two of her hull lengths of W when the overlap began. L was justified in changing course to sail directly to the mark, provided that she did not sail above her proper course. It is L’s proper course that is the criterion for deciding whether she broke rule 17; W’s proper course is not relevant. According to the agreed diagram, L at no time sailed above her proper course. Therefore L did not break rule 17. Just after position 3 L luffed slightly. Clearly there was room for W to keep clear, and so L did not break rule 16.1. L broke rule 14(a) because she could have avoided contact with W, but she was exonerated by rule 43.1(c) because there was no damage or injury. W broke rule 11 because she failed to keep clear of L. W could have avoided contact and so she also broke rule 14(a); and, as she was not sailing within the room to which she was entitled under rule 16.1, she was not exonerated by rule 43.1(c). W is disqualified under rules 11 and 14(a), and L is reinstated. |